高效平面回转筛
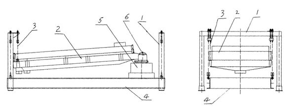
高效精密平面回旋筛,它包括有一个机座4和一个筛面上安装有弹性球的筛体2,机座的两端外侧分别设有一个龙门吊架1,在两个龙门吊架与机座的挂环上分别连接有将机座水平吊起的吊绳3,在机座上面靠一端安装有一套驱动装置5,在驱动装置上面安装有传动箱6,在传动箱上经主动轴、从动轴及其偏心块与筛体的加料口一端相连接,筛体的另一端向下倾斜3-8度用吊绳吊挂在另一端的龙门吊架上。 高效精密平面回旋筛具有设计合理,结构简单,运行平稳,全封闭结构,无尘染,防堵孔,防粘网等优点。特别是对吸湿性强、粘性大、易堵孔和粘网的尿素筛分更为明显。由于采用了平面回转运动原理,有效的降低了设备的动静比和基础动载荷。该设备采用平面回转振动筛上下振动,网下有自动清理设备,较传统的直线筛而言,提高了丝网寿命,噪音小,筛分面积大,将效率由原来的93~95提高到了99,推广前景好 。pxzs型平面回转尿素筛分机主要是针对大颗尿素的筛分开发的一种新型筛分设备,也广泛应用于冶金、矿山、化工、医药、建材、粮食加工、耐火材料等行业的精确分级筛分作业。是一种新型的高标准筛分设备,该系列设备具有筛分效率高,筛网利用率高,工作稳定可靠,不易将合格的颗粒振碎,无污染,是一种理想的环保型筛分设备。
特点:
(1) 自清网效果极佳,每层筛网均设有筛网防堵清理装置,不堵网; (2) 处理量大,降低了成品物料中的粉末含量,是普通筛子的10倍; (3) 筛网利用率高,无垂直振动,寿命长; (4) 全封闭结构无粉尘污染,改善操作员的工作环境。
适用行业: (1) 化工:化肥、纯碱、钙粉、树脂、三聚氰胺 等; (2) 食品:砂糖、食盐、淀粉、奶粉 等; (3) 冶金:金属、磁性材料 等; (4) 建材:涂料、耐火材料 等。
工作原理: 从筛机摇动体即筛箱运动轨迹来看,平面回旋筛又称往复筛,其驱动装置所产生的振动力是一绕定轴、方向呈一定规律变化的惯性力,其本质是由偏心轮绕定轴转动所形成的往复惯性力。根据回旋筛的结构特点及工作原理,其筛面一般为水平或微倾斜布置。回旋筛的工作原理为:筛机启动后,筛机摇动体即筛箱在惯性力的作用下作前后往复运动,筛箱带动筛面作周期性摇动,从而使筛面上的物料随筛箱一同作定向跳跃式运动,期间,小于筛面孔径的物理通过筛孔落到下层,成为筛下物,大于筛面孔径的物料经连续翻滚跳跃运动后从排料口排出,最终完成筛分工作。 从平面回旋筛的结构和工作原理可以看出,其传动机构偏心轮距物料运动轨迹及物料在筛面上的滞留时间有至关重要的影响,也即对筛机处理能力和筛分效率有相反的影响,有鉴于此,在实际筛分作业中,我们可以根据具体情况和需要,在生产能力和筛分效率两方面有所取舍。
物料运动情况:
同样或相近的配置,平面回旋筛比一般 惯性振动筛有更高的处理能力和筛分效 率,其本质是,该机型可人为的控制物 料在筛面上的运动轨迹和滞留时间,即 在有限空间,由于物料的运动轨迹为速 度和加速度均为变化非线性曲线,所以物料与筛面有更多接触机滤,当然也 就增加了透筛率。
技术参数:
|
||||||||||||||||||||||||||||||||||||||||||||||||||||||||||||||||||||||||||||||||||||||||||||||||||||||||||||||||||||||||||||||||||||||||||||||||||||||||||||||||||||||||||||||||||||||||||

